作为其首款SUV产品,小米YU7的热度可谓一骑绝尘,一经公布就霸占了热搜榜第一名,秒杀所有当天工信部申报的新车。然而,随之而来的却是一个让人颇感意外的消息:“YU7”商标已被他人抢注。这不免让雷军有些尴尬了,也为品牌保护提了个醒。


YU7商标被抢注,谁是幕后操盘手?
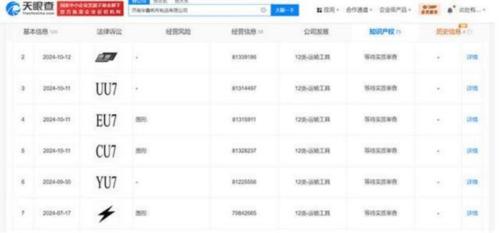
据天眼查数据显示,济南某公司早在今年9月便成功申请了“YU7”商标的注册,该商标的国际分类为运输工具,目前处于等待实质审查阶段。此前,另一自然人侯某某也曾尝试注册该商标,但未获成功。

更令人惊讶的是,这家公司似乎研究了小米汽车的商标策略,不仅抢注了“YU7”,还布局了多个潜在的商标,包括“UU7”、“EU7”、“CU”、“ULTRA”、“S ULTRA”、“S7 PLUS”、“S7 PRO”、“S7 MAX”以及“苏九”等一系列与小米车型潜在关联的名称。这一系列行为似乎带有明显的针对性,其目的是通过商标抢注获取商业利益。即使不一定会成功但却有一定的几率,毕竟9月的时候还并没有该车的名称信息,而且当时可能普遍认为大概率会是”SU8”。

商标抢注,商业竞争的新战场
商标抢注事件在国内市场并不罕见。尤其是在汽车行业,抢注具有潜力的新车型商标已成为部分企业获取利益的重要方式。这一行为背后,折射出商标作为品牌资产的重要性。
抢注原因:
1.商业投机:通过抢注小米等热门品牌的商标,以后续转让或使用权出售谋利。
2.市场干扰:阻碍小米新品上市,抢占市场先机。
潜在影响:
1.品牌形象受损:如果小米未能及时处理,可能会影响YU7的市场推广计划。
2.法律纠纷成本:小米可能需要投入大量资源通过法律程序解决商标争议。
小米如何应对
面对这次商标抢注事件,小米汽车可能采取以下措施应对:
1.启动异议程序:通过法律手段向国家知识产权局提出商标异议,阻止“YU7”等商标的最终注册。
2.品牌防御布局:加速申请与未来车型相关的商标,避免再次遭遇抢注。
3.宣传品牌独立性:通过宣传明确区分正品与抢注商标,消除消费者的混淆。

所以不管是多大的公司,在竞争激烈的商业世界中,企业在推出新产品或新品牌之前,或许都要高度重视商标保护工作,提前进行全面的商标布局和申请,确保自身的知识产权不受侵犯。相信这次事件也许只是小米汽车发展过程中的一个小插曲大概率会完美解决。
此次事件我们也会关注最新信息后续发展,为大家带来最新报道。
互动话题:
1.你认为小米会如何应对YU7商标被抢注的问题?
2.小米明年还会有第三款车型,猜一下名字会是啥!

扫一扫关注微信