
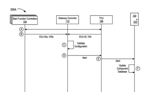
图片来源:USPTO近年来,福特发布了多项专利,概述了未来车辆可能能够检测某些物品被盗的方法——带来了诸如主动车轮防盗系统、车轮盗窃检测系统和零件盗窃检测系统等构想。如今,这项新发布的专利则将这一趋势推向了略微不同的方向,提出了一种替代TCU(远程信息处理控制单元)的告密模式。这项新专利的唯一目的是防止窃贼和黑客以非常特殊的方式访问联网汽车。如今,那些不法之徒一直在车辆上安装TCU移除防护罩,这可能会给车主带来各种各样的问题。因此,福特提出了这套系统,当检测到控制器不匹配时,它会向车主发出警报。这些警报甚至可以通过云端的移动设备(例如智能手机)发送,帮助车主向相关部门报警,甚至可能当场抓获窃贼——这使得该系统在未来的福特汽车上应用似乎可行。本发明公开了一种管理不匹配控制器警报的方法。该方法包括:将从多个车辆接收到的不匹配控制器警报存储到具有一个或多个硬件计算设备的云系统的组件数据库中,每个不匹配控制器警报指示安装了该不匹配控制器的当前车辆的标识符,以及当前车辆的位置。该方法还包括:通过云系统对不匹配控制器警报进行聚类,以按位置关联不匹配控制器警报。此外,该方法还包括:通过云系统指示不匹配控制器警报的聚类位置。
福特公司在声明中表示:“提交专利申请是企业保护创新成果、构建知识产权体系的常规举措。专利申请内容不应视为企业业务或产品规划的依据。无论专利如何描述,我们在新产品服务的开发与推广决策中始终以客户需求为核心导向。”

扫一扫关注微信