近日,工信部第403批《道路机动车辆生产企业及产品公告》中,比亚迪全新子品牌“领汇”携专属LOGO及四款申报新车正式亮相。
此次披露的e5、e7、e9及M9四款车型,从轮廓设计来看与比亚迪现有王朝系列存在明显关联,行业普遍推测,领汇品牌将聚焦网约车、出租车等营运市场,成为比亚迪布局B端出行领域的专属力量。
在2025年实现全球销量、技术研发与全球化布局三重突破的背景下,领汇的诞生绝非偶然,而是比亚迪多品牌战略中,精细化挖掘细分市场的关键落子。
有哪些亮点?
领汇以工信部公告为权威背书,明确了比亚迪旗下独立子品牌的身份,专属LOGO的启用更打破了王朝、海洋系列的视觉体系,凸显其差异化定位与品牌独立性,为后续市场区隔筑牢基础。
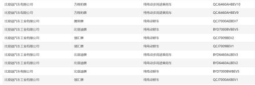
从申报信息来看,领汇首批产品已构建起覆盖轿车与MPV的初步矩阵,多款车型与比亚迪成熟产品高度同源,既降低了研发与产能爬坡成本,又凭借市场验证的可靠性,快速适配营运市场对车辆稳定性的核心诉求。

具体来看,领汇e5对标秦PLUS EV,车身尺寸为4805/1837/1530毫米,轴距2718毫米,搭载最大功率100千瓦的电机,精准覆盖入门级营运轿车市场。
e9则看齐汉系列,长宽高分别为4995/1940/1495毫米,轴距达2920毫米,提供135千瓦与150千瓦两种电机版本,满足中高端营运场景需求。
作为首批车型中唯一的插混产品,领汇M9车身尺寸达5200/1970/1805毫米,轴距3045毫米,兼顾营运场景的空间需求与能耗经济性。
而e7虽延续海豹等车型的家族化设计语言,但进行了独立优化调整,车身尺寸为4780/1900/1515毫米,轴距2820毫米,精准填补中间细分市场空白,进一步丰富营运场景选择。
为网约车而生?
行业普遍认为,领汇的核心定位是专攻网约车、出租车、租赁公司等B端营运市场,这一推测背后有着多重合理逻辑。
从品牌策略来看,将营运车型剥离至独立品牌,可避免主品牌“比亚迪”与“网约车”形成强绑定,从而维护王朝、海洋系列面向个人用户的豪华感与个性化价值,实现个人消费与对公营运市场的专业化区隔。
从市场需求来看,营运车辆与私家车的核心诉求差异显著,前者更看重极致的耐久性、经济性、维护便捷性与可靠性。

领汇依托秦、汉、夏等成熟车型平台打造,基础品质与市场口碑已具备保障,同时可通过简化非必要智能化配置,聚焦续航、能耗等核心实用指标,在成本控制上形成优势,为车队运营商提供高性价比解决方案。
从战略格局来看,领汇的推出标志着比亚迪品牌架构完成关键补位,形成了层次分明、覆盖全面的品牌矩阵:王朝网与海洋网主攻大众消费市场,腾势、方程豹、仰望布局高端豪华与个性化赛道,领汇则专职开拓对公出行生态,全方位覆盖汽车消费全场景。
助力比亚迪更生一层楼
领汇品牌的底气,源于比亚迪2025年在全球市场的全方位爆发。
全年460.24万辆的销量、18.2%的全球市场份额,让比亚迪稳坐全球新能源销冠,其中纯电车型销量226万辆超越特斯拉,海外销量突破104.96万辆,同比暴涨145%,在欧洲、巴西、东南亚等市场多点开花,全球化品牌影响力持续攀升。
庞大的销量规模形成显著规模效应,为领汇的成本控制提供有力支撑,也让新品牌一经推出便具备天然的市场认可度。
持续加码的技术研发为领汇构筑核心竞争力。2025年上半年比亚迪研发投入达309亿元,同比增长53%,累计研发投入超2100亿元,一系列核心技术的规模化落地,专为营运车型量身定制。
第二代刀片电池能量密度达220Wh/kg,且支持10C超充,可大幅缩短网约车充电等待时间;第五代DM技术全面下放,亏电油耗低至2.6L,综合续航突破2100公里,有效降低营运车辆的日常使用成本。
全品系布局的协同效应更为领汇提供强力支撑。
王朝网、海洋网双渠道持续发力,秦、宋、海鸥等车型霸榜细分市场,为领汇提供成熟的产品平台与渠道参考,
腾势、方程豹、仰望在高端市场的突破,完成了比亚迪从性价比到技术溢价的跨越,提升了集团整体品牌价值,让领汇作为独立营运品牌更易获得市场与合作伙伴的信任。
综上,领汇并非比亚迪凭空创造的新赛道,而是其在登顶全球新能源销冠后,对自身技术、产能、品牌资源的高效盘活与精准配置。
通过聚焦营运市场,比亚迪不仅填补了品牌矩阵的最后一块拼图,更以专业化姿态收割庞大的B端出行市场,进一步巩固行业领导地位。
从个人消费者到车队运营商,从大众产品到豪华旗舰,从中国市场到全球舞台,一个覆盖汽车生活全场景、全链条的比亚迪生态系统已清晰成型。

扫一扫关注微信