最新最快汽车新闻
太阳能光伏网

大众汽车车内隐藏式门把手专利曝光

【太平洋汽车新车频道】日前,我们从相关渠道获悉,大众汽车向德国专利和商标局提交了车内隐藏式门把手专利。大众希望通过该项专利使得车门轻量化和简化,同时使内饰更时尚、更优雅。

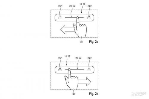
隐藏式门把手在检测到人手的时候会自动弹出,可以手动推回,并在车辆开动后自动归位。同时,为了安全,车辆行驶后门把手将不会弹出。

此外,门把手还兼具了触控式门锁功能,使用了带有特定颜色背光的触摸电容滑块面板。用手指在面板上从一边滑到另一边,它的LED灯就会从红色变成绿色,表示门现在没有锁,相反则是上锁状态。(编译:太平洋汽车柳昀青)

最新相关
全新8系Gran Coupe发布 预售价97万起

全新8系Gran Coupe发布 预售价97万起

中国汽车新闻网讯6月19日,宝马官方发布了全新8系Gran Coupe车型(G16),并将在6月25日宝马集团举办的#NextGen未来峰会上迎来全球首发,同时将开启8系家族产品预售。其中全新BMW 8系四门轿跑车建...

广汽的华为"解药": 一场关键的破局

广汽的华为"解药": 一场关键的破局

当传统车企的转型阵痛撞上智能化的生死竞速,广汽集团的选择不再是单打独斗。与华为携手共创"启境"品牌,可视为一次重要的技术协同探索,也是对当前市场趋势的积极响应。从混动技术路线的选择到...

长城汽车首款超跑计划2026年底亮相

长城汽车首款超跑计划2026年底亮相

9月30日,长城汽车官方微博发布了一段央视《对话》栏目的视频。在视频中长城汽车董事长魏建军透露,长城汽车首款超跑将于"明年年底(2026年底)"亮相。图片来源: 微博截图魏建军表示,这个跑车项目...

吉利全新雷神电混车型路试谍照曝光

吉利全新雷神电混车型路试谍照曝光

近日,吉利全新雷神电混车型路试谍照曝光。车身涂装文字显示: 吉利全新一代雷神电混系统,发动机热效率超过46%,亏电油耗进入2L/100km,满油满电续航或超2200km。之前,吉利汽车集团CE0淦家阅曾透...