据外媒报道,汽车制造商梅赛德斯-奔驰(Mercedes-Benz)开发出一种全新方式以控制信息娱乐系统:悬浮水晶球,并已向世界知识产权组织(WIPO)申请了专利。该方法不再使用触摸屏或语音控制,具有革命性意义。

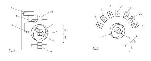
在专利申请描述中,梅赛德斯-奔驰称该专利形状为球体,可在受控磁场作用下悬浮于空中。在专利申请图中,车辆中控台上方悬浮这一个球形控件。通过使用磁场技术,该球体可以自由悬停和旋转。而通过光、运动、接近度和陀螺仪传感器,其传感器单元能够检测控制器的驱动和输入。

该悬浮球控件可以向多个方向滚动,并且可以像操纵杆一样被推动。当按动控件操作时,即为单击或选择菜单。
目前的设想是该系统可能会采用玻璃或水晶球,但控件必须含有某种金属部件才能使磁场最有效。该专利建议在控件内安装一个永磁体。这个概念可以轻松将起亚EV6的旋转球体驱动控件整合起来。
专利申请并不意味着该设计具有实用性,而且一定会存在潜在缺陷。例如,磁场不仅需要能够悬停控件,还需要够强以固定位置。否则,车辆忽然转弯时,水晶球很可能会飞出磁场,从而撞击到乘客的面部。

由于半导体芯片短缺,宝马已经开始放弃触摸屏技术。那么梅赛德斯是否会跟上步伐,持续开发该悬浮水晶球技术?

扫一扫关注微信