在过去的几年里,保持双手清洁已成为一种全球性需求。据外媒报道,日本汽车制造商丰田(Toyota)正在探讨一种新想法,帮助驾驶员在打开车门时避免手上接触到任何微生物。

最近,该公司获得了一项名为“车门把手消毒系统”(vehicle door handle sanitizing system)的新创意专利。丰田于2020年6月提交了相关专利申请。
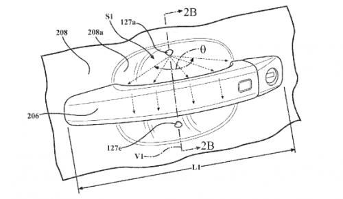
该专利于2023年1月24日发布。这种车辆门把手消毒系统包括连接到消毒剂分配器的专用喷嘴。通过消毒剂分配器,可自动将清洁材料喷洒到门把手的外表面上。
该设计旨在保持车门把手的清洁,让驾驶员在进入车辆时,无需再担心手上可能沾染病毒和细菌。事实证明,很多人在每次使用门把手前后都会擦一下,因此丰田的新概念可能派上用场。
通过更先进的解决方案,可以进一步提升该技术。例如,通过集成在把手中的传感器,系统可以知道何时需要再次喷洒消毒材料,例如检测到有人使用以后,甚至是当把手变脏的时候。此外,还可以安装警示灯等其他组件,让驾驶员知道何时需要往分配器里加消毒剂。
丰田的想法具有一定的合理性,但一切还处于专利阶段。换句话说,尚不能确定这样的概念会出现在生产车型上,或者丰田是否会继续投资于这一系统。

扫一扫关注微信