
我国现行的法兰标准分为两个体系,分别是PN系列(欧洲体系)和Class系列(美洲体系)。
PN系列公称压力等级采用PN表示,包括以下九个等级:PN2.5、PN6、PN10、PN16、PN25、PN40、PN63、PN100、PN160。
Class系列公称压力等级采用Class表示,包括以下六个等级:Class150、 Class300、Class600、Class900、Class1500、Class2500。
法兰的公称压力等级对照表
磅级(class) 150 300 600 900 1500 2500 公称压力PN(Bar) 20 50 110 150 260 420 LB与PN是压力等级,不是简单的压力单位,就是LB可与MPa相互换算,但是LB与PN是不能简单的换算的。
因为压力等级本身就应该是无次的,只是不同的等级标准,互换时除了要考虑LB与MPa的换算关系,大概是MPa=0.007×LB。
HG/T20592-2009与HG/T20592-97法兰标准中公称压力的区别。
压力换算公式:1巴(bar)=100000帕(Pa)=10牛顿/平方厘米=0.1MPa(MPa就是兆帕)是国际标准组织定义的单位。
在HG/T20592-2009法兰标准中压力为PN16,与HG/T20592-97法兰标准中压力PN1.6的压力是相同的,即我们平时所说的16公斤压力。
2009版公称压力是按bar为单位,97版公称是按MPa为单位,16bar=1.6MPa。
法兰的概念与分类
法兰又叫法兰盘或凸缘盘。法兰是使管子与管子相互连接的零件,连接于管端;也有用在设备进出口上的法兰,用于两个设备之前的连接。法兰连接或法兰接头,是指由法兰、垫片及螺栓三者相互连接作为一组组合密封结构的可拆连接,管道法兰系指管道装置中配管用的法兰,用在设备上系指设备的进出口法兰。法兰上有孔眼,螺栓使两法兰紧连。法兰间用衬垫密封。法兰按连接方式可分为螺纹连接(丝扣连接)法兰和焊接法兰。

1、按化工行业标准来分,法兰分为:
| 板式平焊法兰(PL) | 带颈平焊法兰(SO) |
| 带颈对焊法兰(WN) | 整体法兰(IF) |
| 承插焊法兰(SW) | 螺纹法兰(Th) |
| 对焊环松套法兰(PJ/SE) | 法兰盖(BL) |
| 平焊环松套法兰(PJ/PJ) | 衬里法兰盖(BL(s)) |
2、按石化(SH)行业标准来分,法兰分为:
| 螺纹法兰(PL) | 对焊法兰(WN) |
| 平焊法兰(SO) | 承插焊法兰(SW) |
| 松套法兰(LJ) | 法兰盖(不表注) |
3、按机械(JB)行业标准来分,法兰分为:
| 整体法兰 | 对焊法兰 | 板式平焊法兰 |
| 对焊环板式松套法兰 | 平焊环板式松套法兰 | |
| 翻边环板式松套法兰 | 法兰盖 |
4、按国家(GB)标准来分,法兰分为:
| 整体法兰 | 螺纹法兰 | 对焊法兰 | |
| 带颈平焊法兰 | 带颈承插焊法兰 | ||
| 对焊环带颈松套法兰 | 板式平焊法兰 | 对焊环板式松套法兰 | 平焊环板式松套法兰 |
| 翻边环板式松套法兰 | 法兰盖 |
5、按照连接方式法兰连接种类来分,法兰分为:
板式平焊法兰、带颈平焊法兰、带颈对焊法兰、承插焊法兰、螺纹法兰、法兰盖、带颈对焊环松套法兰、平焊环松套法兰、环槽面法兰及法兰盖、大直径平板法兰、大直径高颈法兰、八字盲板、对焊环松套法兰等。

法兰连接的形式
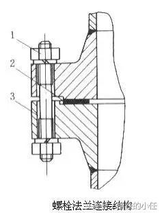
法兰连接(flange,joint):由一对法兰、一个垫片及若干个螺栓螺母组成。法兰联接是一种可拆联接。
原理:垫片放在两法兰密封面之间,拧紧螺母后,垫片表面上的比压达到一定数值后产生变形,并填满密封面上凹凸不平处,使联接严密不漏。
性能:较好的强度和密封性,结构简单,成本低廉,可多次重复拆卸,应用较广。
失效形式:主要表现为泄漏,泄漏量控制在工艺和环境允许的范围内。

按所联接的部件可分为容器法兰及管法兰。
按结构型式分,有整体法兰、螺纹法兰、平焊法兰对焊法兰、活套(松套、活舌)法兰和法兰盖。前面我们提到了。

整体法兰系指泵、阀、机等机械设备与管道连接的进出口法兰,通常和这些管道设备制成一体,作为设备的一部分。
螺纹法兰是将法兰的内孔加工成管螺纹,并和带螺纹的管子配合实现连接,是一种非焊接法兰。与焊接法兰相比,它具有安装、维修方便的特点,可在一些现场不允许焊接的场合使用。但在温度高于260℃和低于-45℃的条件下,建议不使用螺纹法兰,以免发生泄漏。
平焊法兰又称搭焊法兰。平焊法兰与管子的连接是将管子插入法兰内孔至适当位置,然后在搭焊,其优点在于焊接装配时较易对中,且价格便宜,因而得到了广泛的应用。按内压计算,平焊法兰的强度约为相应对焊法兰的三分之二,疲劳寿命约为对焊法兰的三分之一。所以,平焊法兰只适用于压力等级比较低,压力波动、振动及震荡均不严重的管道系统中。
平焊定义:待焊表面处于近似水平位置,从接头上面进行的焊接。
水平方向焊接水平板焊接一般叫平焊。焊缝倾角0°~5、焊缝转角0°~10°的焊接位置称为平焊位置,而在平焊位置进行的焊接就称为平焊。这种焊接位置属于焊接全位置中,最容易焊的一个位置。
平焊法兰:通过角焊缝直接与设备或管道焊接的一种法兰。其结构简单,加工方便。
(1)用在容器上又分甲型平焊法兰和乙型平焊法兰。甲型平焊法兰直接与容器焊接,其解焊缝尺寸较小或不开坡口焊接,不能保证法兰与容器同时受力;乙型平焊法兰附有一段较厚的短节,法兰与短节的焊接质量可靠,能保证法兰与容器同时受力。平焊法兰广泛用于中、低压容器和管道的连接。
对焊法兰又称高颈法兰刚性较大,适用于压力温度较高的场合。
(2)用在接管上又有板式平焊法兰、带颈平焊法兰和带颈对焊法兰三种类型。
板式平焊法兰:由于法兰直接与钢管焊接,法兰盘在操作时受力状态差,易发生形变。适用于低压场合。
带颈平焊法兰:由于增加了一厚壁的短节法兰颈,因此增加了法兰的刚度,大大减小了法兰变形。适用于中、低压场合。
对焊法兰又称高颈法兰,它与其他法兰不同之处在于从法兰与管子焊接处到法兰盘有一段长而倾斜的高颈,此段高颈的壁厚沿高度方向逐渐过渡到管壁厚度,改善了应力的不连续性,因而增加了法兰强度。对焊法兰主要用于工况比较苛刻的场合,如管道热膨胀或其他载荷而使法兰处受的应力较大,或应力变化反复的场合;压力、温度大幅度波动的管道和高温、高压及零下低温的管道。
对焊:对接电阻焊(简称对焊)是利用电阻热将两工件沿整个端面同时焊接起来的一类电阻焊方法。对焊的生产率高、易于实现自动化,因而获得广泛应用。
对焊分为电阻对焊和闪光对焊两种。

松套法兰的连接实际也是通过焊接实现的,只是这种法兰是松套在已与管子焊接在一起的附属元件上,然后通过连接螺栓将附属元件和垫片压紧以实现密封,法兰(即松套)本身则不接触介质。这种法兰连接的优点是法兰可以旋转,易于对中螺栓孔,使用在大口径管道上易于安装,也适用于管道需要频繁拆卸以供清洗和检查的地方。其法兰附属元件材料与管子材料一致,而法兰材料可与管子材料不同,因此比较适合于输送腐蚀性介质的管道。
(3)其它形式的法兰连接

法兰连接也是暖通空调行业中的阀门用得最多的连接形式。按结合面形状又可分为以下几种:
1)光滑式:用于压力不高的阀门。加工比较方便。
2)凹凸式:工作压力较高,可使用中硬垫圈。
3)榫槽式:可用塑性变形较大的垫圈,在腐蚀性介质中使用较广泛,密封效果较好。
4)梯形槽式:用椭圆形金属环作垫圈,使用于工作压力≥64公斤/cm2的阀门,或高温阀门。
5)透镜式:垫圈是透镜形状,用金属制作。用于工作压力≥100公斤/cm2的高压阀门,或高温阀门。
6)O形圈式:这是一种较新的法兰连接形式,它是随着各种橡胶O形圈的出现,而发展起来的,它在密封效果上比一般平垫圈可靠。
法兰的密封形式
一、法兰密封面形式包括
| 密封面形式 | 代号 | ||
| 平面 | FF | ||
| 突面 | RF | ||
| 凹凸面 | 凸面 | MFM | M |
| 凹面 | FM | ||
| 榫槽面 | 榫面 | TG | T |
| 槽面 | G | ||
| 环连接面 | RJ |

二、法兰类型与密封面型式
| 法兰类型 | 密封面型式 | 压力等级PN,MPa |
| 板式平焊法兰(PL) | 突面(RF) | 0.25~2.5 |
| 全平面(FF) | 0.25~1.6 | |
| 带颈平焊法兰(SO) | 突面(RF) | 0.6~4.0 |
| 凹凸面(MFM) | 1.0~4.0 | |
| 榫槽面(TG) | 1.0~4.0 | |
| 全平面(FF) | 0.6~1.6 | |
| 带颈对焊法兰(WN) | 突面(RF) | 1.0~25.0 |
| 凹凸面(MFM) | 1.0~16.0 | |
| 榫槽面(TG) | 1.0~16.0 | |
| 环连接面(RJ) | 6.3~25.0 | |
| 全平面(FF) | 1.0~1.6 |
| 法兰类型 | 密封面型式 | 压力等级PN,MPa |
| 整体法兰(IF) | 突面(RF) | 0.6~25.0 |
| 凹凸面(MFM) | 1.0~16.0 | |
| 榫槽面(TG) | 1.0~16.0 | |
| 环连接面(RJ) | 6.3~25.0 | |
| 全平面(FF) | 0. 6~1.6 | |
| 承插焊法兰(SW) | 突面(RF) | 1.0~10.0 |
| 凹凸面(MFM) | 1.0~10.0 | |
| 榫槽面(TG) | 1.0~10.0 | |
| 螺纹法兰(Th) | 突面(RF) | 0.6~4.0 |
| 全平面(FF) | 0.6~1.6 | |
| 对焊环松套法兰(PJ/SE) | 突面(RF) | 0.6~4.0 |
| 法兰类型 | 密封面型式 | 压力等级PN,MPa |
| 平焊环松套法兰(PJ/PR) | 突面(RF) | 0.6~1.6 |
| 凹凸面(MFM) | 1.0~1.6 | |
| 榫槽面(TG) | 1.0~1.6 | |
| 法兰盖(BL) | 突面(RF) | 0.25~25.0 |
| 凹凸面(MFM) | 1.0~16.0 | |
| 榫槽面(TG) | 1.0~16.0 | |
| 环连接面(RJ) | 6.3~25.0 | |
| 全平面(FF) | 0.25~1.6 | |
| 衬里法兰盖(BL(S)) | 突面(RF) | 0.6~4.0 |
| 凸面(M) | 1.0~4.0 | |
| 榫面(T) | 1.0~4.0 |
法兰的使用范围及代号说明
法兰标记
钢管外径系列是管法兰尺寸的基础。我国目前生产和使用的钢管,从外径来分有两个系列:标准中标注为“系列Ⅰ”和“系列Ⅱ”,或称“A系列”及“B系列”。系列A的钢管为“英制管”,俗称“大外径管”;系列B的钢管为“公制管”,俗称“小外径管”。
所谓“大外径管及小外径管”的含义是:在相同管道公称通径的条件下,管道附件(诸如法兰、阀门、管件及管道过滤器等)所配用钢管外径尺寸的大小,尺寸大的叫“大外径”管;尺寸小的叫“小外径”管。
例如:公称通经DN100的法兰,配管外径为114.3mm及108mm两种,外径114.3mm的钢管称为“大外径”管或“A系列”管;外径108mm的钢管称为“小外径”管或“B系列”管。

PN系列
法兰按下列规定标记:
HG/T 20592法兰(或者法兰盖)
其中,b为法兰的类型
c为法兰的公称尺寸与适用钢管外径系列。若为A系列可以省略,B系列须在后面注明。另外,整体法兰、螺纹法兰、法兰盖的适用钢管外径系列可省略。
d为公称压力等级PN
e为密封形式代号
f为钢管壁厚,由用户提供。带颈对焊法兰、对焊环(松套法兰)应注明钢管壁厚
g为材质牌号
h表示其他。比如附加的要求

法兰按下列规定标记:
HG/T 20615法兰(或者法兰盖)
其中,b为法兰的类型
c为法兰的公称尺寸
d为公称压力等级Class
e为密封形式代号
f为钢管壁厚,由用户提供。带颈对焊法兰、对焊环(松套法兰)应注明钢管壁厚
g为材质牌号
h表示其他。比如附加的要求

| 法兰类型 | 法兰类型代号 | 标准号 |
| 板式平焊法兰 | PL | |
| 带颈平焊法兰 | SO | HG 20616 |
| 带颈对焊法兰 | WN | HG 20617 |
| 整体法兰 | IF | HG 20618 |
| 承插焊法兰 | SW | HG 20619 |
| 螺纹法兰 | Th | HG 20620 |
| 对焊环松套法兰 | PJ/SE | HG 20621 |
| 平焊环松套法兰 | PJ/PR | |
| 法兰盖 | BL | HG 20622 |
| 衬里法兰盖 | BL(S) | |
| 大直径管法兰 | WN | HG 20623 |
法兰的常见故障
在现代工业的连续生产中法兰受介质腐蚀、冲刷、温度、压力、震动等因素的影响,会不可避免的出现泄露问题。由于密封面加工尺寸的误差,密封元件的老化以及安装紧固不当等原因极易造成法兰的渗漏。如果不能及时治理法兰渗漏问题,在介质的冲刷下会使渗漏迅速扩大,造成物料的损失,生产环境的破坏,导致企业停机停产,造成巨大的经济损失。如果是有毒有害、易燃易爆的介质泄漏,还有可能造成人员中毒、火灾爆炸等重大事故。
传统解决法兰渗漏的方法为更换密封元件和涂抹密封胶或者更换法兰及管道,但该方法具有很大的局限性,且有的渗漏受工作环境安全的要求限制,无法现场进行解决。现可以采用高分子复合材料进行现场堵漏,其中应用比较成熟的有福世蓝的体系。其是一个很理想的方法,特别是在易燃易爆场合下,更显示其独有的优越性。高分子复合材料技术施工工艺简单、安全,且费用低,能够为企业解决大部分的法兰渗漏问题,消除安全隐患,为企业节省更多的维修成本。

扫一扫关注微信