
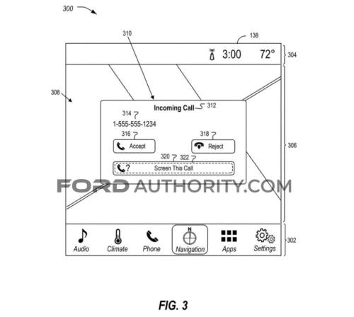
图片来源:USPTO就在几周前,福特公布了一项无人值守电话拦截系统的专利,旨在防止人们在车内发生一件令人烦恼的事情——“误拨”,也就是在不想拨打电话时意外拨出号码。现在,这家汽车制造商又在此基础上推出了一项新专利——这次是电话筛选系统。这套系统旨在解决另一个令人烦恼的问题:人们经常接到不想接听或被打扰的来电。系统会将来电号码与现有数据进行比对,让用户选择接听、挂断或屏蔽来电。此外,系统还可以更进一步,考虑用户当前认知负荷(即处理工作记忆信息所需的脑力),并在认为必要时自动屏蔽来电。
福特在一份声明中表示:“提交专利申请是企业正常运营的一部分,因为这一过程可以保护新创意,并帮助我们构建强大的知识产权组合。专利申请中描述的想法不应被视为我们业务或产品计划的指示。无论专利申请中概述的内容如何,在开发和推广新产品和服务时,我们始终会将客户放在首位。”

扫一扫关注微信