最新最快汽车新闻
太阳能光伏网

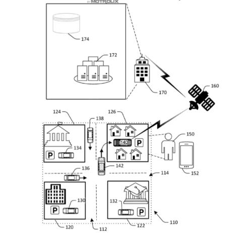
通用汽车申请车辆自动点火装置专利 用于高犯罪率地区

据外媒报道,通用汽车(GM)提交了一份汽车自动点火装置的专利申请,当车辆停在犯罪率高的区域时,该装置将启动。该申请已在美国专利商标局(USPTO)获得专利号US 2024/0336223 A1,并于2024年10月10日发布。该专利申请最初于2023年4月6日提交,发明者为几位密歇根州的工程师,包括Ali H. Fawaz、Robert Myers和Ryan J. Baik。

该专利申请描述了一种系统,旨在通过远程禁用车辆的发动机来减少高犯罪率地区的车辆相关犯罪。该系统的工作原理是检测车辆何时停放在高风险区域,从而阻止发动机启动。

最新相关

Stellantis集团与小马智行合作

10月17日,Stellantis集团和小马智行共同宣布,双方已签署一份不具约束力的谅解备忘录,旨在加速自动驾驶车辆解决方案在欧洲的开发和部署。图片来源: Stellantis集团据介绍,此次合作通过小马智行...

博世中阶智能辅助驾驶迎来批量交付

博世中阶智能辅助驾驶迎来批量交付

10月17日,博世中阶智能辅助驾驶迎来批量交付的关键节点。今年上半年,该方案已获得捷途、东风、北汽等五家车企的十余款车型定点。历经数月的开发调试与严苛测试,如今顺利实现规模化交付,充分印...