据外媒报道,特斯拉最近申请了一项名为“并行处理系统运行重新加载”(Parallel Processing System Runtime State Reload)的专利,该专利包括一个系统,而该系统有三个或多个处理器协同工作,以有效地消除特斯拉自动驾驶系统Autopilot或全自动驾驶套件(Full Self-Driving,FSD)可能出现的硬件故障。该专利涉及一个强大的并行处理器系统,能够在其中一个处理器出现故障或者运行状态错误时仍然保持运行。专利写道:“如果其中一个并行处理器出现故障,至少还会有一个其他处理器能够继续运行自动驾驶功能。”

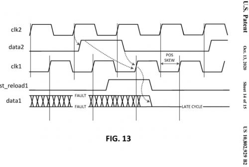
特斯拉于当地时间8月26日申请并公布该专利,距离该公司于上周四(当地时间8月19日)举办人工智能日(Artificial Intelligence Day)活动仅一周。该专利描述的系统至少有三个处理器会并行运行,由电路监控,如果其中一个出现运行状态错误,就能够定位和识别出故障处理器。然后,该电路能够在运行错误时识别并切换至第二个处理器,访问第二个处理器的运行状态,并将第二个处理器的运行状态加载至出现运行状态错误的第一个处理器中。
特斯拉详细描述了该专利:“片上系统(SoC)包括布置在单个集成电路上的多个处理系统,而每个单独的此类处理系统通常会相应地执行一组处理功能,通常通过一个或多个通信总线结构互相连接,而此类通信结构包括一个N位宽数据总线(N是大于1的整数)。有些SoC部署在金融处理系统、自动驾驶系统、医疗处理系统、空中交通控制系统等可用性很高的系统中。此类并行处理系统通常根据相同的输入数据操作,包括管道结构等基本相同的处理元件,以便在每个并行处理系统正常运行时,都能够产生基本相同的输出结果。因此,如果其中一个并行处理器出现故障,至少还会有一个处理器可以继续执行自动驾驶功能。”

从技术层面讲,自动驾驶汽车只需要一个处理器就能够精确地实现所述功能。不过,当加载到神经网络时,此类处理器可能会因数据过载,并可能出现短期和非永久的操作错误。当此种情况发生时,该系统就可以切换至其他处理器中的一个,以进行正常操作。该专利中包括至少两个备用处理器,因为其反复提到有三个备用处理器。
之后,第二个处理器会激活并将运行状态加载至第一个处理器中,以让主处理器芯片再次进行操作。专利写道:“因此,为了克服上述缺点,除其他缺点外,本发明的并行处理系统包括至少三个并行操作的处理器、状态监测电路以及状态重新加载电路。其中,状态重新加载电路与至少三个并行处理器耦合,并且经过配置能够选择至少三个并行处理器中的第二个处理器来重新加载状态,访问第二个处理器的运行状态,并且将第二个处理器的运行状态加载至第一个处理器中。”
此外,似乎该专利与特斯拉首席执行官埃隆马斯克此前在AI Day上详细描述过的Dojo超级计算机有关系。为了提高精度,让处理器能够并行操作,该系统将利用时钟输入来校准两个处理器。
特斯拉一直专注于实现精确的FSD操作,而且多次修改了战略。今年早些时候,特斯拉转而让Model 3和Model Y车型都采用仅使用摄像头的方法,即通过协调8个外部摄像头的处理情况,以实现更加精确的FSD操作。负责编译、压缩和将数据发送至神经网络的内部处理器的操作可能会暂时失效,因此为了继续理解自动驾驶数据,备用处理器就是一个不错的想法。

扫一扫关注微信