天眼查最新数据显示,重庆华辉涂料有限公司近期完成工商变更,新增两大投资方——北京小米智造股权投资基金合伙企业(有限合伙)与广州凯得星航创业投资基金合伙企业(有限合伙),公司注册资本由约2778万元人民币增至约3167万元人民币。

此次增资标志着比亚迪此前入股的涂料企业进一步获得资本市场青睐,同时小米系基金的介入引发行业对跨界资源整合的广泛关注。
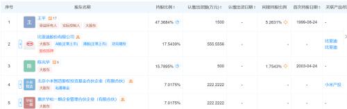
重庆华辉涂料成立于1999年8月,法定代表人王平,主营业务涵盖涂料制造、销售及仓储服务,是一家拥有25年历史的高新技术企业。其技术实力与市场基础此前已吸引比亚迪于今年4月30日完成555.5556万元出资,持股20%成为第二大股东。而此次小米关联基金与广州国资背景的凯得星航联合入场,不仅推动华辉涂料资本结构多元化,更凸显其在汽车产业链中的战略价值。

华辉涂料的竞争力源于其覆盖20余家主流车企的服务网络,客户包括东风、奇瑞、长安、长城、易捷特等,并拥有40项国内外专利及省部级研发平台。
比亚迪的入股被视为垂直整合供应链的关键一步,通过华辉现有渠道加速涂料业务从自用转向外部市场拓展。而小米系资本的加入则可能为华辉带来智能硬件生态的协同机会,例如车用涂料与智能座舱材料的创新结合。
行业分析指出,新能源汽车轻量化与电池安全性需求正推动涂料功能升级,比亚迪的电池技术积累与华辉的涂装经验或形成互补。
然而,跨界合作也面临挑战。国际涂料巨头如PPG、巴斯夫仍占据高端市场较高份额,且近期通过降价策略挤压本土企业利润空间。此外,车企自研涂料需长期投入,而新能源车市波动可能影响需求稳定性。华辉如何在股东多元化的背景下平衡技术研发与商业化节奏,成为后续关注焦点。
市场人士认为,此次资本联动反映了汽车产业“链主”企业向材料端延伸的趋势。比亚迪强化供应链自主可控,小米系则探索智能汽车配套生态,两者的协同效应若得以释放,或将重塑汽车涂料市场竞争格局。

扫一扫关注微信