碳纤维是一种非常神奇的材料,它强度极高,重量却很轻。无论追求的是加速、过弯、降低能耗还是保障乘员安全,碳纤维都能满足所有性能需求。然而,问题在于,尽管过去二十年来价格已经大幅下降,但它仍然相当昂贵。因此,各行各业的公司都在不断寻求降低成本的方法,以便让这种神奇的材料应用于更多领域。据外媒报道,马自达最近公布了一项简化碳纤维材料生产工艺的专利,该工艺有望降低碳纤维的成本。

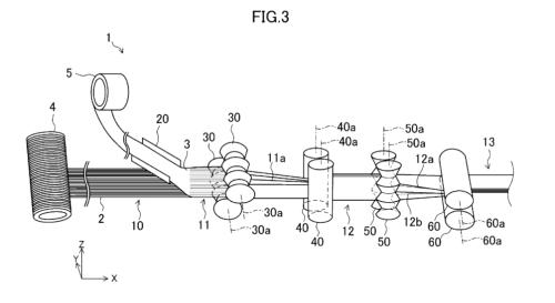
据世界知识产权组织(World Intellectual Property Organization)称,马自达的这项专利已提交给德国专利商标局(German Patent and Trademark Office)。该专利首先解释了碳纤维片材需要用树脂“浸渍”,以便最终硬化,从而获得刚性、形状并保护碳纤维丝。当碳纤维丝紧密编织成片材时,这项工作并非易事。因此,为了将树脂输送到所需位置,专利中描述了两种常用工艺。一种是将树脂粉末撒在碳纤维片材上,然后用加热辊将树脂压入片材中,但专利指出,这种方法不利于材料强度,而且效率不高。另一种方法是将多层碳纤维与多层树脂夹在一起,然后压合在一起,但专利指出,各种切割和堆叠工序会占用空间和时间,从而降低效率。马自达的这项技术借鉴了后一种技术,但将其简化为一个更连续的流程。虽然解释起来有点复杂,但结合专利中的图示,就容易理解多了。简单来说,就是先将一层碳纤维卷绕出来,并在其上涂覆一层树脂。这两层材料随后通过滚轮,在碳纤维片上形成类似手风琴的折叠,然后由两个扁平滚轮将折叠后的碳纤维片压紧。压紧后的碳纤维片再以垂直方向通过另一组折叠滚轮,并至少再次被压紧一次。其原理是,在多道滚轮的挤压下,树脂能够充分分布在碳纤维中,从而可以用于生产碳纤维部件。这样就得到了一种类似三明治结构的碳纤维材料,但无需进行各种切割和堆叠工序。专利还指出,该设计并不一定局限于碳纤维或特定类型的树脂,还可以使用其他材料,例如玻璃纤维或天然纤维。正如之前所说,减轻车重几乎可以提升车辆性能的方方面面,而碳纤维的强度使其能够在不牺牲安全性的前提下实现轻量化。降低碳纤维的成本意味着它可以应用于价格更低廉、更主流的车型,从而打造更轻便、驾驶乐趣更佳的汽车。
不仅如此,这项技术对马自达在能源消耗和排放方面也大有裨益,因为更轻的车辆加速所需的能量更少。减少汽油或电力的使用,意味着无论使用哪种方式,排放量都会减少,同时还能节省这方面的开支。然而,这项专利目前还只是专利,具体实际应用效果可能还需时日。

扫一扫关注微信